Planos Corbeta Descubierta (Malaspina)

  • Iniciador del tema Iniciador del tema araola
  • Fecha de inicio Fecha de inicio
Aunque yo no he participado en el proceso de documentación que ha acompañado la elaboración de los planos (poco podría haber aportado desde mi ignorancia, aunque si que he seguido con gran interés el tema), lo cierto es que estaría muy interesado en poder disponer de ellos. Así que, por favor, apuntadme en la lista.

Un cordial saludo,

Javier
 
A mí tambien me gustaria tener una copia de los planos si es posible. He seguido el hilo con interes aunque no haya podido aportar nada de utilidad. Me parece un trabajo excelente y muy interesante. Enhorabuena.
Saludos
 
Gracias MarioV, no te esperes unos planos excelentes, son de aficionado; sin embargo creo que aunque no tienen la precisión de trazado que sería deseable son suficientes para hacer un modelo que quede bien, no es el primero que hago, basta con dejar un poquito de margen en las piezas para que el ajuste se haga a lija y a ojo. No sé aún cómo pero os haré llegar los planos.
Saludos.
 
A ver qué os parece el borrador de la sección.
 

Archivos adjuntos

  • Secciones transcomp.jpg
    Secciones transcomp.jpg
    166,8 KB · Visitas: 3.426
A mi también me gusta esta muestra, y mucho, y me despierta aún más las ganas de poder disponer de los planos cuando se pueda...

Gracias por tu trabajo.

Un cordial saludo,

Javier
 
La sección de Bausá está bien de proporciones, al menos coincide aproximadamente la relación eslora-calado-puntal, y lo más importante la altura al agua desde la batería, 1,37 m. que es lo peculiar de este barco y se debe a su especial distribución interior, lo normal serían 1,70 m.
Lo que sí mosquea es que en los dibujos buenos de la expedición esa altura es aparentemente mayor , pero las medidas están en varios documentos y coinciden.
Date cuenta que los dibujos de la expedicion muestran a las corbetas ancladas en puertos o bahias y es muy probable que en esa situacion no estubieran al 100% pertrechadas... de ahi que la distancia al agua sea o parezca mayor.
Los planos te estan quedando muy bien. Si tienes Autocad te puedo echar una mano con la ornamentacion y las piezas de la proa (Brazales, etc). Tambien, puedes visitar http://www.cuervas-mons.com/images/Spanish%20frigate/index.html" onclick="window.open(this.href);return false; donde los planos te pueden servir para completar las cubiertas, jarcia, palos etc.
Saludos
 
Hola Anaga: Tienes razón, sin agua ni leña el francobordo aumenta 30 a 40 cm.
Tengo autocad pero nipu y ya no puedo aprender , además le tengo manía por el trabajo.
Los planos de Cuevas me hubieran venido muy bien al principio, ahora ya está todo dibujado o casi. Además es una Jorge Juana que se diferencia de la Descubierta en la proa abierta y la popa (parece) de espejo, (a alguno se le van a abrir las carnes). Además la Descubierta tiene la batería cubierta (paradoja) y muy poca batería al medio, es poco "florida", lo que hace su concepto peculiar.
Adjunto los dibujos del espolón por si quieres corregirlos, creo que el alzado está mal y me falta sacar los alzados de las gambotas, pero me voy a meter con el aparejo que está sin empezar porque si no no puedo acabar los planos porque no sé dónde van las cornamuzas y esas menudencias.
Gracias y saludos
 

Archivos adjuntos

  • espocomp.jpg
    espocomp.jpg
    73,8 KB · Visitas: 3.386
  • espolo2comp.jpg
    espolo2comp.jpg
    62,4 KB · Visitas: 3.386
Pongo la sección longitudinal y la planta de la cubierta de maniobra cortada justo por encima del trancanil por un plano curvo con el arrufo de la cubierta. En la otra mitad he puesto los baos.
La altura de la cabina está reducida por conveniencia constructiva de la maqueta.
Agradecería críticas porque esto va avanzando y luego cuesta más corregir.
Saludos
 

Archivos adjuntos

  • _secypla2.jpg
    _secypla2.jpg
    255,2 KB · Visitas: 2.900
Es una chorrada, es que al hacer la construcción de la popa dibujé una placa curva que hace de suelo de la cabina y base superior de la bovedilla, pero por grueso y colocación sale más arriba de donde debería ir así que he modificado el arrufo de la cubierta de batería y por eso se ve raro.
No le hagas caso y por favor mira a ver si ves alguna chapuza o error de bulto.
Gracias
 
Pongo el alzado ¿final? y las medias cubiertas; he empezado el aparejo. Pregunta: aparte del libro de Isidro que trae la cartilla de Zuloaga, alguien tiene para esta época un esquema o guía de dónde finalizan las maniobras ( cornamuzas, cabillas..) ? Tengo el Vallarino y monografías francesa e inglesa de la época, pero serán distintas, supongo.
Gracias
 

Archivos adjuntos

  • scan409.jpg
    scan409.jpg
    485,5 KB · Visitas: 2.445
  • cub409.jpg
    cub409.jpg
    235,4 KB · Visitas: 2.445
Hola. Estoy de acuerdo en que no está fácil, pero precisamente por eso creo que tampoco se puede exigir mucho rigor.
En el museo hay muy poco de la época 1789 y del porte de la Descubierta.La Diana y la Flora son de un porte mayor, la Nª Sra del Pilar da que dudar en algunas cosas y la Descubierta de Godoy lo mismo es un modelo de aparejado pero me parece que no.
La pregunta: ¿ en caso de duda que es mejor tomar una solución inglesa o francesa? De las dos tengo documentación abundante.
Con los escaneados es mucho más cómodo el dibujo de la jarcia, en vez de hacerla completa en dos planos voy a hacerla por partes, un plano de jarcia fija, otro de maniobra de vergas etc. Siguiendo como guión la Cartilla y con la ayuda de las tablas de " Arboladura y jarcia española..."
Ya he dibujado los palos !!!Y EL PARARRAYOS!!!
Gracias y saludos
 
Leopoldofran dijo:
En el museo hay muy poco de la época 1789 y del porte de la Descubierta.

Lo peor es que lo que hay ha sido restaurado y no sabemos hasta qué punto es fiel al original.
Boudriot, para el aparejo de su Vaisseau de 74 c. acudió a un modelo desvencijado almacenado en una reserva y que no había sido nunca restaurado. Así se puede.
 
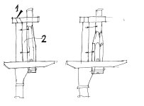
Estoy casi seguro de que el croquis válido es de la izquierda, pero por si acaso lo expongo por si alguien lo puede confirmar.
Se trata del calcés de la Descubierta, estoy haciendo el aparejo con , entre otros, el Vallarino y parece que se decanta por el croquis de la derecha.
Las cuestiones son:
la espiga del macho que entra en el tamborete va recta o inclinada (1)
La separación entre macho y mastelero es constante y este engorda excéntrico o no (2)
Saludos y gracias.
 

Archivos adjuntos

  • calcés0326.jpg
    calcés0326.jpg
    201,4 KB · Visitas: 2.354
marengo dijo:
Coincido con Cayetano. Por si te sirve de algo ahí tienes el inventario de la arboladura y velamen.
Problema con las velas y sus perchas.
Según la relación hay alas de gavia y de velacho y rastreras de trinquete.
En mi opinión se necesitarían:
Vergas para alas de gavia y de velacho: están,10 y 9 pies respectivamente.
Botalones en las vergas de gavia y velacho: están, 31 y 30 pies respectivamente.
Vergas para rastreras de trinquete: no están.
Botalones en la verga de mayor para cazar las alas superiores: no están.
Botalones en la verga de trinquete para cazar alas superiore y extender las rastreras: están ,39 pies.
Tangones o botalones para cazar las rastreras de trinquete: no están.
Además, los botalones de 39 pies son demasiado largos para que vayan en una verga de trinquete de 60 pies y 9 pulgadas, por lo que cabe suponer que estos serían los tangones de las rastreras de trinquete, faltando entonces los botalones.
Qué opináis?
 
Pongo un esquema aclaratorio de lo que falta si no estoy equivocado y un dibujo del macho de mayor a ver qué os parece.
Saludos
 

Archivos adjuntos

  • atrevida0328.jpg
    atrevida0328.jpg
    202 KB · Visitas: 2.921
  • machomayor.jpg
    machomayor.jpg
    91,7 KB · Visitas: 2.921
En el apartado " arboladura" hay un hilo llamado mastelero en que se ha continuado y resuelto todo esto, lo que permite avanzar bastante en los planos de aparejo.
Saludos
 
Atrás
Arriba